ÅPNINGSTIDER: Man–tor: 07.30–16:00, fre: 07.30–14:00
EichingerArt. nr. 1568-bundleL-blokk løfteklype 1000-3000kg
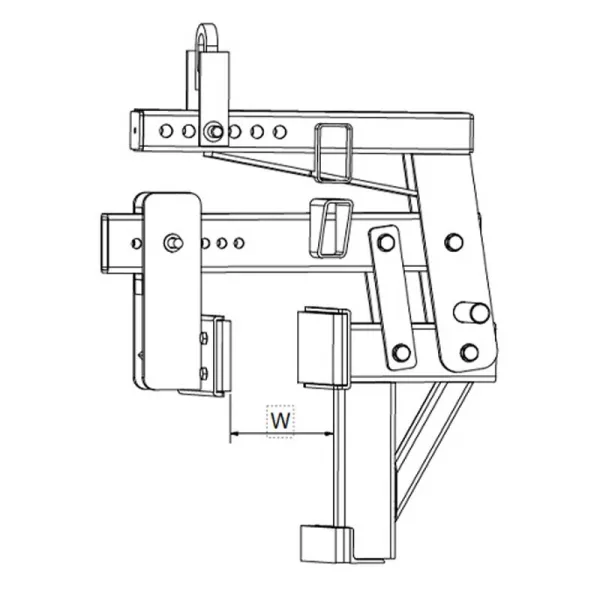
Løfteklype for sikker og pålitelig håndtering av L-formede steiner med løftekapasitet på opptil 3000 kg.
SIKKER BETALING MED
Faktura Delbetaling
LeasingBeskrivelse
Beskrivelse
Kantsteinsklype for L-formede blokker
Løfteklype for sikker og pålitelig håndtering av L-formede steiner. Dette er en kraftig løfteklype med løftekapasitet på 1000 kg eller 3000 kg. Løfteklypen har manuell motvekt gjennom individuell posisjonering av klypen med automatisk åpne- og lukkefunksjon.

Teknisk informasjon
Teknisk informasjon
| Løftekapasitet | 1000 kg / 3000 kg |
|---|---|
| Gripebredde | 15-245 mm / 100-300 mm |
| Vekt | I/A |























