ÅPNINGSTIDER: Man–tor: 07.30–16:00, fre: 07.30–14:00
EichingerArt. nr. BUNDLE1563Steinklype med sakseløft 2000 kg
Kraftig mekanisk steinklype med sakseløft, for sikker og pålitelig håndtering av byggematerialer i bulk. Med justerbar gripebredde og løftekapasitet opptil 2000 kg avhengig av modell.
SIKKER BETALING MED
Faktura Delbetaling
LeasingBeskrivelse
Beskrivelse
Mekanisk sakseklype med løftekapasitet opptil 2 000 kg
Mekanisk steinklype med sakseløft for sikker og pålitelig håndtering av byggematerialer i bulk. Klypen har tilpassede feste for gaffeltruck, med manuell dreier og et fjæringsøye for kranoperasjon. Klypen kommer med utskiftbare gummierte kjever og helautomatisk gripe- og slippefunksjon.
Løftklypen er designet og bygget i samsvar med arbeidsmiljøreglene og forskriftene fra den tyske arbeidsgiverforsikringsforeningen.

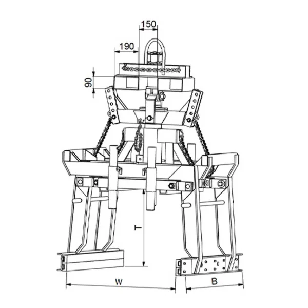
Teknisk informasjon
Teknisk informasjon
| Løftekapasitet | 1600-2000 kg |
|---|---|
| Gripebredde (W) | Se spesifikasjoner ved valgt produkt |
| Gripedybde (T) | 600-950 mm |
| Kjevelengde (B) | 1200-1250 mm |
| Vekt | 345 kg |

















